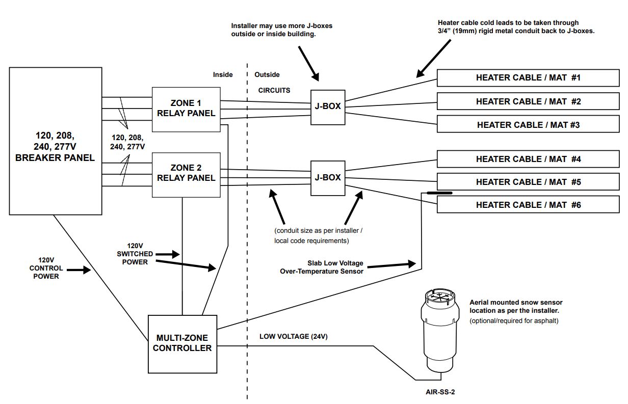
WarmlyYours SC-MZ-TOUCH ZoneBraker Touchscreen Multi-Zone Snow Melting Controller User Guide

MODES:
Off (system off) this is where settings are made for the “auto” mode Multi-Zone Auto system is on and waiting for snow events. Used with systems that have limited power on site and require the system to cycle through various zones, one at a time Single Zone Auto system is on and waiting for snow events. Used with systems that have adequate power on site to run all zones simultaneously
Sensors:
Snow sensor indicator: When the sensor detects a snow fall and temperatures are below 38 degrees, the indicator will turn green and the system will send power to the relay panels. After run indicator: When the snow is no longer detected, this indicator will turn green and the system will start the “After run cycle”. System will continue to cycle for the set amount of time in hours. Slab sensor temp: monitors the slab temperature to ensure that the system doesn’t continue to run when “Max Temp” is exceeded. If the Max Temp is exceeded, the system will turn to the “off” mode and a user will have to set the system back to “auto”.
User-defined fields in “auto”:
Pri this is where the user can determine the run order of the zones 1-4. Note- the system will not allow for more then 1 zone to be on at any given time. Any unused zones can be set to “0” and the program will skip that specific zone. If there are only 2 zones present, 2 of the 4 zones must be set to “0”. Min this is the area that the user can set the time that each zone will run in minutes Max temp this is where a user can select the max temperature/high limit that will shut down the entire system. When this set temperature in met, the system will switch from auto modes to off mode. After run this is the area that the user can set time, in hours, that the system will run after a snow event stops

- A OFF/CONFIG Screen is where settings are entered. User Defined Fields are as follows:
- B Zone Priority: “PRI” 1,2,3,4 will determine the Zone Running order of the zones. To skip a Zone user can enter 0
- C Zone Run Time: “Min” 1-120 minutes can be set. To skip a Zone user can enter 0
- D After Run Time: “HRS” 1-12 can be set. This is the time the system will run after snow sensor determines the snow event is over. The system will continue to cycle through the zones for this set amount of time.
- E Max Slab Temp: This is where the upper limit temperature can be set to shut the system down due to over temp of slab surface. If this temperature is exceeded, the system will shut down to the “OFF” mode and need to be manually reset. Inspection of system is recommended at that point. Max Temp” range (40-90°F) and default value of 50°F
- F Access to FAQ and Troubleshooting section

Multi-Zone Mode:
No settings can be adjusted once system is in Multi-Zone Auto. If Multi-Zone Auto is “GREEN”, the system is ON and waiting for a snow event. This mode should be used if the project was designed with multiple zones.
SNOW SENSOR OVERRIDE:
If the “SNOW SENSOR OVERRIDE” button is pressed, the system will run for the set amount of time which was programmed in the user defined “AFTER RUN” field. To cancel the “SNOW SENSOR OVERRIDE” you must turn the system “OFF”

Single-Zone Mode:
No settings can be adjusted once system is in Single-Zone Auto. If Single-Zone Auto is “GREEN”, the system is ON and waiting for a snow event.
SNOW SENSOR OVERRIDE:
If the “SNOW SENSOR OVERRIDE” button is pressed, the system will run for the set amount of time which programmed in the user defined “AFTER RUN” field. To cancel the “SNOW SENSOR OVERRIDE” you must turn the system “OFF” momentarily and then set unit to “Auto” to enter “Ready” state.

Frequently Asked Questions:
Q. My snow isn’t melting. A. Ensure the unit is on and that each zone has a time value for operation
Q. How do I shut off the system? A. The system may be shut off by pressing the OFF/CONFIG tab on the screen.
Q. One zone melts, the other/s don’t. A. Ensure that all the zones have a time value set for run time operation. If a time value is not set for a particular zone, it
will not activate.
Q. What temperature should I set the OT sensor to? A. The OT sensor value should be set to 50 degrees F, and adjusted as necessary to optimize operation.
Q. How many zones will this control? A. This control is capable of controlling 4 separate zones.
Q. Does this have built-in GFEP? Do I need GFEP breakers when using this control? A. This control does not incorporate a built in GFEP protection. GFEP protection must be supplied by GFEP breakers.
Q. How long should each zone be activated? A. Each zone may be activated for any length of time. No two applications are the same. You can start with 10 minutes and
adjust up to 120 minutes per zone, and through trial and error, find the optimum zone durations for best operation of your system.
Q. Do all zones have to be ON for the same amount of time? A. No, you may vary the times for each zone as necessary.
WarmlyYours HQ 590 Telser Road,
Lake Zurich, IL 60047
WarmlyYours 300 Granton Drive, Unit 4A Richmond Hill, ON L4B1H7
800-875-5285
www.WarmlyYours.com
Connect with Us
![]()
Facebook
Twitter
Instagram
YouTube
LinkedIn
Pinterest
Houzz

Industry leading 24/7 installation and technical support. Our experts can answer any technical questions on any product we offer, 24/7.